证监会出手,立案!香雪制药及实控人信披违规被立案
登录新浪财经APP 搜索【信披】查看更多考评等级
香雪制药9月30日公告,公司及公司实际控制人王永辉于当日收到中国证监会下发的《立案告知书》。因涉嫌信息披露违法违规,中国证监会决定对公司及王永辉立案。

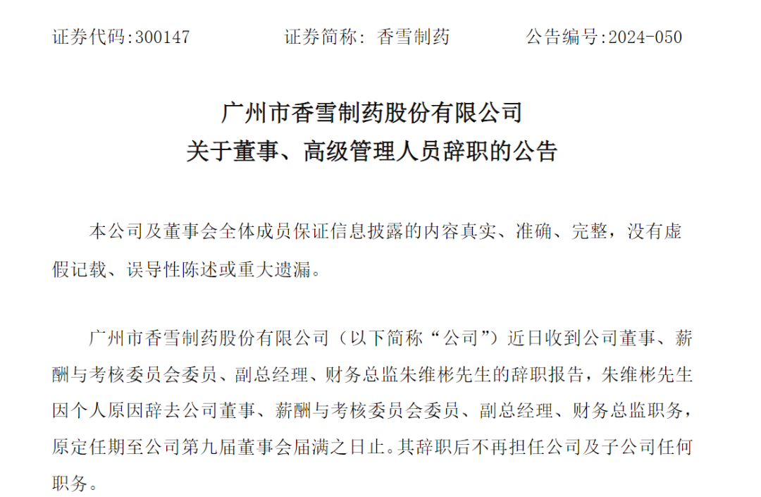
同日,公司公告称于近日收到公司董事、薪酬与考核委员会委员、副总经理、财务总监朱维彬的辞职报告,朱维彬因个人原因辞去公司董事、薪酬与考核委员会委员、副总经理、财务总监职务,原定任期至公司第九届董事会届满之日止。其辞职后不再担任公司及子公司任何职务。

实控人及控股股东涉及多项诉讼案件
实控人屡次收到警示函
香雪制药是以中药制造为主营业务,集现代中药及中药饮片的研发、生产与销售,辅之医疗器械、少量西药产品及医药流通等业务为一体的高新技术企业。
2024年上半年,公司本部中成药产品销售未达预期,短期和长期借款的财务费用约1.12亿元,加之“官洲国际生物论坛总部”资产折旧、摊销4658.36万元等因素的影响,从而导致公司在报告期内营业收入与利润双降。报告期内,公司实现营业收入10.97亿元,较上年同期下降8.72%;归属于上市公司股东的净亏损为1.35亿元,较上年同期下降104.90%。

今年5月,香雪制药因生产、销售不符合标准规定的板蓝根颗粒,被广东省药监局罚款100万元、没收违法所得8.2万元。

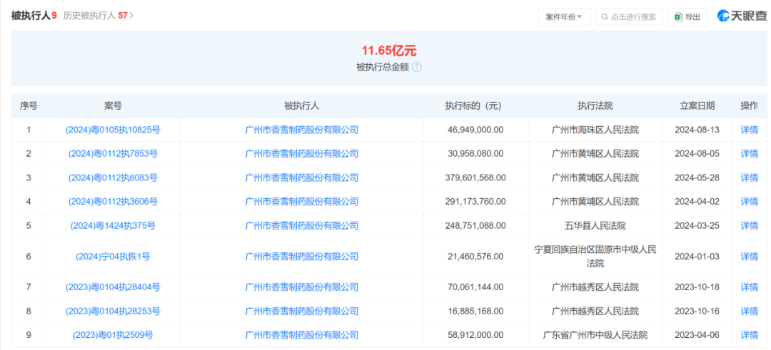
另据天眼查法律诉讼信息,7月5日,香雪制药及其法定代表人王永辉、大股东广州市昆仑投资有限公司等新增一条被执行人信息,执行标的4.6亿余元,执行法院为广州市黄埔区人民法院。

公司在2024年半年报及此前的公告中也多次披露了诉讼案件相关情况,涉及对象除了实际控制人王永辉,也包括控股股东广州市昆仑投资有限公司(简称“昆仑投资”)。

此次被证监会立案前,王永辉曾多次收到证监会广东监管局发布的警示函,理由包括:对外担保未履行必要审批程序和披露义务,未按规定履行勤勉尽责义务,对公司相关违规行为负有主要责任,重大诉讼披露不及时等。
因披露在研新药进展
股价曾走出“过山车”行情
今年7月底,因披露在研新药TCR-T细胞疗法TAEST16001注射液被纳入突破性治疗品种名单之后,香雪制药股价一度暴涨,收获多个涨停板,短短半个月涨幅超过了两倍,但随后又快速下跌。
公司亦三次通过股价异动公告提示消费者公司基本面没有发生变化,最近三年及一期经营业绩连续亏损,且2023年年报被出具保留意见、公司及子公司有多起重大诉讼案件被法院强制执行、控股股东高比例股权质押以及被司法冻结等多种风险情形。

据其今年8月8日披露的股价异动公告,公司控股股东昆仑投资持有公司股票的质押比例为96.73%,持有公司股票被冻结比例为100%。

相关文章

最新评论