“公募一哥”千合资本实控人王亚伟 “背后事”
来源:资事堂
作者 | 孙建楠
编辑 | 袁畅
千合资本及其实控人,如今现状如何?
这个问题始终是中国私募圈的“谜团”。
这家机构的实控人王亚伟,曾是中国基金业的“公募一哥”,其投资业绩至今无人能超越。
但在今年2月,被公司确认暂不参与公司运营后。王亚伟从低调变成了“杳无音信”,连带着他创立的千合资本,也渐渐淡出人们的视野。
王亚伟的公司如今如何了?
他的团队还有机会从头再起么?
01
管理规模仍超50亿元
今年2月3日,千合资本曾对外公告称:因个人原因,王亚伟暂不参与公司运营管理。目前千合资本的管理团队全部在岗,切实履行职责,保持公司正常运营。同时,公司已向销售渠道及投资者披露有关情况,并及时安排产品临时开放,目前赎回工作已基本顺利完成。
如今十个月过去了,这家私募现状如何?
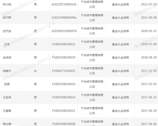
官方备案资料显示:截至2024年11月5日,千合资本的全职员工人数为13人,其中12人已取得基金从业资格。
另外,这家私募最新的管理规模区间仍为50亿元-100亿元,相当可观。

02
部分基金经理仍“在册”
另外,观察千合资本从业人员的名单可以发现,除了王亚伟本人外,另有两位曾经在这家私募资管产品“挂名”的基金经理,即王睿智(早年曾任职于华商基金)和史成波均还“在册”。
当然,后两者究竟处于怎样的工作状态,外界不得而知。

03
调研记录未曾“终止”
资事堂进一步发现:千合资本的投研活动并未销声匿迹,而是持续出现于A股公司调研现场。
根据东财choice的公司调研数据:千合资本最近一次调研的时点是2024年10月30日,调研的公司为心脉医疗,形式为电话调研。
此外,2024年8月、9月和10月,这家私募的月度调研次数分别为8次、7次、2次(以调研的发生日期计算)。调研形式涉及线上会议、现场调研、业绩说明会、特定对象沟通等。
具体调研人选中,史成波、邵印珠、蒋仕卿等都曾出现于调研名单中,他们在过往千合资本调研记录中有着颇高的“出镜率”。
叠加千合资本备案产品中,大部分并未显示出清盘的状态,这似乎表明这家私募仍然在为客户资金进行操盘。
04
消失的“骨干”
资事堂比对了千合资本从业人员信息后发现,一位名叫王路跖的关键人物不见踪迹。
这家私募机构的官网曾经列出基金经理阵容:除了王亚伟,亦有蒋仕卿、史成波、王路跖、孙珂。
上述四位相对年轻的基金经理,可谓王亚伟团队的骨干级成员,能够深得创始人信任并成为其“管钱”的助手。
如今,王路跖已经不在从业人员名单中,其余数人依然位列其中。截至目前,这位人士的离职原因以及最新去向等信息,并不为外界所知晓。
不止于此。
此前另有一位基金经理,在今年一季度离开千合资本,相关人士名叫李冬卉。
他早年曾在中金公司、华夏基金任职,还曾参与私募创业,2013年1月正式加盟千合资本,但加入后这家私募经历了众所周知的变化。这位基金经理相当于入职一年左右,就选择了与新东家的“切割”。
05
部分产品提前清盘
公开信息显示:王路跖于2011年从厦门大学毕业后,加盟华夏基金担任策略分析师,后加盟千合,并独立管理千合紫荆系列产品。
从履历信息可以看出,他与王亚伟均有着相同的华夏基金背景,此前王的另一位“大弟子”崔同魁也曾在华夏基金任职,并且在王亚伟的私募产品里出任过基金经理。
王路跖与崔同魁的“交集”,不仅仅是此前任职机构的交集,而且两人都曾是千合紫荆产品的“操盘手”。
在崔同魁跳槽至其他百亿私募机构后,千合这个系列产品的基金经理变更为王路跖。
有意思是:多只千合紫荆系列产品已经处于“基金已清算”之状态。
据官方备案资料:2024年9月中旬,总计5只千合的资管产品同时进行了提前清算。
通常来讲:当出现客观原因时,基金运作可能导致投资者利益受损,为了保护投资人的利益,私募管理人依据基金合同对基金财产进行清算。
由此看来,王路跖的“异动”与最新一波产品的提前清盘有着绕不开的关联。
中信证券(维权)财富管理部门的人士对资事堂表示,千合资本最新清盘的部分产品,主要就是由中信证券进行代销。
另据了解,千合资本此前的主要存量规模,就是由中信证券、中国银行等特定渠道进行维护。
06
还有高管“撑场”
备案资料显示,目前千合资本有两位登记的高级管理人员,一位是王亚伟,另一位是胡春莎。
据悉,胡春莎于2021年加入这家私募,现任合规风控负责人,信息填报负责人,此前曾在泰达宏利、和聚投资任职。
准确来说,千合资本只是王亚伟实控的证券类私募,他还实控一家股权创投累私募,即上海晞恒资产管理有限公司,后者管理规模区间为10亿元-20亿元。
换言之,王亚伟在中国私募版图上的展业,可谓“两条腿走路”,横跨一二级市场,但近三年所曝光的投资踪迹非常稀少。
近一年以来,关于王亚伟的动向有着很多说法,但往往处于难以证实、亦难以证伪的状态。
这个私募平台如今是否以什么状态进行运作,特别是谁来“主事”,以及还掌管着多少客户资产,始终是待解的谜团。
相关文章

最新评论