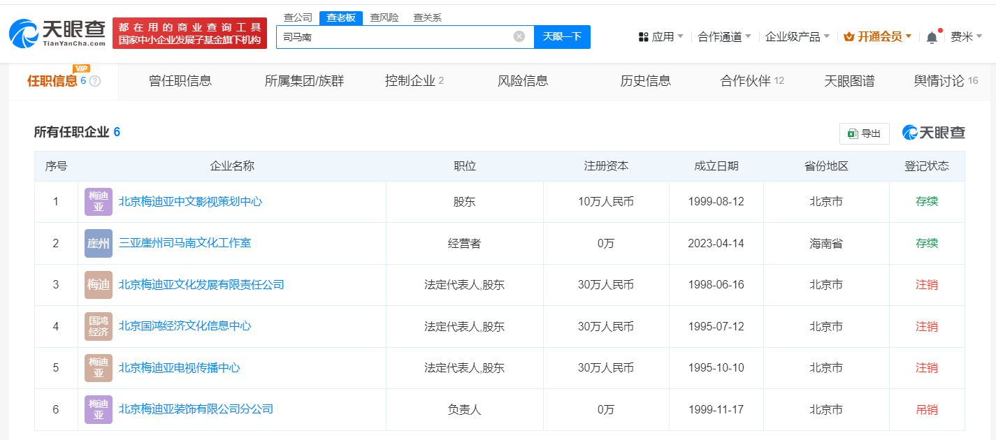
偷税被罚超900万元!司马南商业版图曝光,名下影视策划中心注册资本仅10万元
资讯
2025年03月21日 14:15 44
admin
3月21日,国家税务总局北京市税务局稽查局公布司马南偷税案件处理情况。
前期,税务稽查部门依托税收大数据分析发现,网络“大V”司马南涉嫌偷税,依法对其开展立案检查。
经查,司马南在2019年至2023年期间,通过隐匿收入、虚假申报等手段,少缴个人所得税、增值税等税费共计462.43万元。此外,其实控企业北京某影视策划中心通过虚列成本费用,违规享受小微企业优惠政策等方式,少缴企业所得税75.32万元。




值得一提的是,去年西凤酒旗下品牌邀请了司马南作为其中秋活动的嘉宾,引发大量负评,众多网友甚至表示要抵制西凤酒。
9月19日,西凤酒紧急公关“熄火”,发布《关于规范市场推广活动的通知》(下称“《通知》”),对相关品牌活动进行严格约束和要求。
《通知》显示,西凤酒营销管理公司、品牌运营公司所有市场活动实行书面报备管理制度,由营销管理公司市场推广部审查同意后方可实施,且活动拟邀请的专家学者、重要领导、文化名人等须符合社会主义核心价值观。
9月21日下午,司马南则在个人微博发文回应称,“放开西凤,冲我来!”,其表示,自己没拿西凤酒的钱,没给西凤酒做代言,也没有替西凤做过广告。“西安中秋大唐夜宴活动,西凤酒是赞助商之一,我去做了一场演讲,与若干学者专家有几番对话,仅此而已。”

上一篇
电子签约网站排名,揭秘行业佼佼者,助力企业高效签约,行业翘楚揭秘,电子签约网站排名助力企业高效签约,电子签约网站行业翘楚揭秘,助力企业高效签约排名出炉
下一篇蔬菜代办网站排名揭秘,如何选择最优质的线上蔬菜采购平台,揭秘蔬菜代办网站排名,挑选优质线上蔬菜采购平台的指南
相关文章

最新评论